상품 이미지 새창 보기

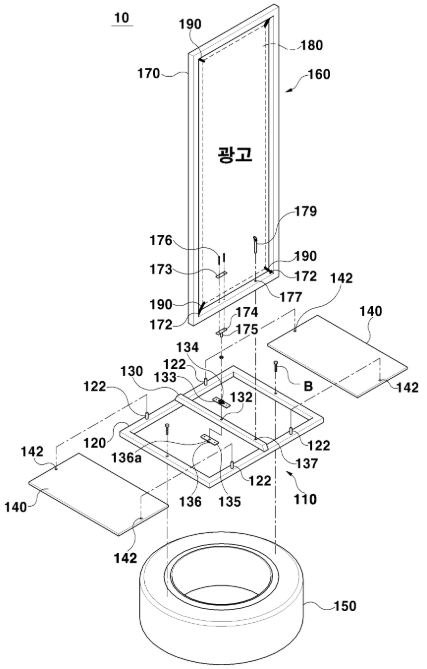
특허 제10-2096170호(넘어짐 방지 기능을 갖는 입간판, 김달천, 특허 제10-2096170호(넘어짐 방지 기능을 갖는 입간판, 김달천, 특허 제10-2096170호(넘어짐 방지 기능을 갖는 입간판, 김달천,