상품 이미지 새창 보기

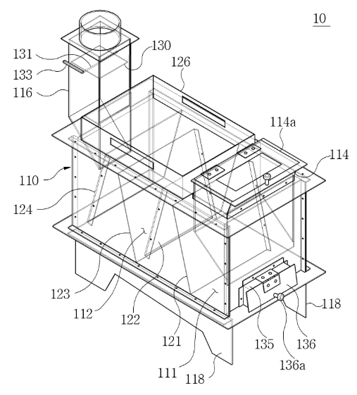
특허 제10-2325769호(구이기능을 갖는 화목난로, 김달천, 특허 제10-2325769호(구이기능을 갖는 화목난로, 김달천, 특허 제10-2325769호(구이기능을 갖는 화목난로, 김달천,