본문 바로가기
Special Goods

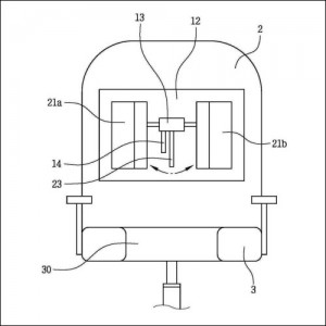
실용신안 제20-0483324호(허리 보호용 의자, 이천훈) > 실용신안권

상품간략정보

실용신안 제20-0483324호(허리 보호용 의자, 이천훈)
상품금액 80,000,000원
구매방법 SMS, 이메일, 전화문의

구매기능

  • 상품 정보

    상품 상세설명

    고안의 명칭 : 허리 보호용 의자
    실용신안권자 : 이천훈
    실용신안청구항: 1항

    ※ 실용신안권자에게 지불하는 실용신안금액은 80,000,000원

    ※ 권리이전은 협력업체 특허법인에서 대행하며, 실용신안권을 이전하기 위하여 필요한 출원인코드부여신청서, 위임장 등의 양식은 별도 이메일로 보내드립니다.
  • 구매관련정보안내

    구매관련정보안내

    ▣ 배송기간
    고객님께서 주문하신 상품은 입금 확인되면, 권리이전을 위한 서류를 관련기관(특허청 등)에 제출하고, 권리이전이 완료된 후 최소 2일에서 최대 5일 이내에 배송해 드립니다.
    단, 일부 도서지역의 경우는 배송이 다소 늦어질 수 있으며, 배송비가 추가 될 수 있습니다. 
    (천재지변,추석연휴,구정연휴 등 불가항력적인 사유 발생시는 그 해당 기간은 배송기간에서 제외)
    ▣ 배송조회
    나만의 공간내에 있는 배송조회 메뉴를 통하여 주문하신 상품에 대한 현재 상황을 보실 수 있습니다. 
    회원이신 경우는 로그인, 비 회원으로 구매하신 경우는 주문번호를 입력하시면 이용하실 수 있습니다.

    ▣ 특허권등의 주문이 완료된 이후로는 원칙적으로 주문취소나 교환이 불가능합니다.
    ▣ 다만, 주문착오가 발생하여 다른 특허권등으로 주문취소나 교환을 원하는 경우에는 권리이전을 위한 서류가 준비되기 전이어야 하며, 긴급연락처(010-5948-4172)로 연락을 주시면 최대한 주문취소나 교환이 가능하도록 처리하겠습니다.  주문취소의 경우, 주문취소에 따른 수수료(에스크로 수수료, 서류준비 수수료 등)가 발생할 수 있습니다.
    ▣ 권리이전을 위한 서류가 관련기관(특허청 등)에 접수된 이후로는 주문취소나 교환이 불가능합니다.
    ▣ 특허권등의 배송이 완료된 이후로는 반품이 불가능합니다. 
회사소개 개인정보 이용약관
Copyright © 2007 (주)아이디어라인. All Rights Reserved.
상단으로